Kotle na spalování dřevní štěpky a kůry (100-1000 kW)
Typ, výkonový rozsah: STEP-KB 100 ÷ 1,000 kW
Použití
Toto zařízení na spalování biomasy (směs pilin, odřezků, kůry, dřevní štěpky, hoblin apod. nebo zrna obilnin) je určeno pro vytápění objektů (průmyslové objekty, CZT, obecní výtopny, zemědělské objekty, hotely, provozovny atd.)
Varianty provedení kotle
Na přání zákazníka lze dodat kotle v základním provedení teplovodním, navíc též v horkovodním, nebo parním.
Popis kotle
Spalovací zařízení se stává ze dvou samostatných celků. Z topeniště s pevným litinovým roštem včetně žárovzdorné zazdívky a kotle STEP-KB.
Nosnou část topeniště tvoří obvodový ocelový rám, který zároveň slouží jako základ pro spalinový výměník. Topeniště je vybaveno roštem, který je sestaven pro palivo se zrnitostí do 50 mm. Vnitřní zazdívka kotle je složena z izolační vrstvy a žárovzdorné šamotové vyzdívky. Klenba topeniště je vyzděná z žárovzdorných cihel uložených v záklencích. Druhý celek se stává z horizontálního žárotrubného výměníku.Tento výměník je čtyřtahový se vstupní komorou pro spaliny vzadu ve spodní části a obratovými komorami vpředu i vzadu. Spaliny vystupující ze žárových trubek IV. tahu v zadní části výměníku jsou vyvedeny výstupem spalin do kouřovodu. Výstupní otvor pro spaliny lze přizpůsobit poloze dle projektu kotelny.
Řízení a regulace
Automatická regulace výkonu je skoková s plynulým přejížděním a je určována hodnotou podtlaku v komoře a počtem dávek paliva do topeniště v závislosti na výstupní teplotě oběhové vody z kotle. Spalovací vzduch je přiveden do topeniště jedním ventilátorem. Po vstupu do kotle se vzduch rozdělí pomocí regulační klapky na vzduch primární a sekundární. Primární vzduch proudí pod rošt a do bočních cihel topeniště, sekundární vzduch zase do výstupního otvoru plamene z topeniště, aby bylo dosaženo řádného vyhoření paliva při minimální tvorbě NOx a CO. Spalinový ventilátor na odtahu spalin frekvenčním měničem otáček reguluje nastavený podtlak v komoře.
Palivo (2 varianty)
a) Dřevní biomasa (směs pilin, odřezků, kůry, dřevní štěpky, hoblin apod.) o min. výhřevnosti 10,1 MJ/kg do vlhkosti 40% , např buk, bříza, dub nebo smrk. Obsah nespalitelných látek (prach, písek) max. 0,4 %. Velikost dřevního odpadu do max. o 50 mm.
b) Zrno obilnin (pšenice, oves, ječmen, žito, kukuřice apod.). Obsah nespalitelných látek (prach, písek) max. 0,4 %..
Odpopelnění a čištění kotle (2 varianty)
a) Automaticky - Popel je z topeniště vynášen automaticky pomocí příčného šnekového dopravníku umístěného v zadní části topeniště. Čištění výhřevných ploch je ruční, mechanicky pomocí speciálních kartáčů a pro vybírání popelovin jsou zabudována lehce demontovatelná dvířka a vrata.
b) Ručně - Popel je potřeba z topeniště vybírat ručně přes popelová dvířka do připravené popelnice. Čištění výhřevných ploch je ruční, mechanicky pomocí speciálních kartáčů a pro vybírání popelovin jsou zabudována lehce demontovatelná dvířka a vrata.
Doprava paliva (2 varianty)
a) Hydraulická doprava paliv
Vyprazdňování sila Vynášení ze sila je prováděno pomoci střídavého pohybu axiálně vedené posouvací tyče, která je opatřena větším počtem vynášecích klínů. Posouvací tyč je poháněná pomocí hydraulického válce. Konstrukčně je zajištěno, aby klíny na posuvných tyčích při pohybu ve směru na přepad do hydraulického podavače přibíraly palivo nacházející se v silu a při pohybu v protisměru palivo podjížděly. Tím se palivo dostává k proti pohybu posuvné tyče příčně se nacházejícímu hydraulickému podavači, kde je sbíráno a dále dopravováno do topeniště kotle.
Hydraulický podavač – Podavač funguje na stejném principu jako vynášení ze sila a je začleněn do regulačního okruhu kotle, to znamená, že je zapínán nebo vypínán závisle na odběru tepla z kotle (v závislosti na výstupní teplotě vody z kotle).
Výhodou tohoto systému je, že na dvou místech, a to ve stěně mezi prostorem sila a prostorem kotle a mezi doplňováním paliva a topeništěm dochází k úplnému oddělení toku paliva. K tomu dochází tak, že unášeče, které jsou vybavené řezacími noži, při ukončení každého dávkovacího cyklu a také při zastavení zařízení se zastaví pod silným protilehlým nožem, který je umístěný na výše uvedených místech. Toto poskytuje nejen nejbezpečnější ochranu proti zpětnému prohoření, ale dochází také k tomu, že v palivu obsažené větší kusy dřeva a kůry jsou střiženy a bezproblémově dopraveny do topeniště.
b) Doprava paliva šnekovými dopravníky
Doprava paliva je zajišťována pomocí šnekového dopravníku ze zásobníku paliva, který je kolmo umístěný ke kotli. Zásobník paliva o objemu 2,0 m3 má ve své spodní části zabudovaný šnekový dopravník o ø150 mm včetně planetové převodovky a rozrušovací plechy na šikmých stěnách zásobníku. Vrchní část zásobníku je opatřena otvorem na doplňování palivem. Druhý konec šnekového dopravníku je přímo našroubovaný na topeniště kotle (na vstupní přírubu vstupu paliva). Doplňovací šnekový dopravník je pro případ zahoření paliva vybaven hasícím zařízením (termostatický vodní ventil s příložným čidlem) napojeným na vodovodní řád.
Parametry kotle
| Výkon kotle | [kW] | 100 | 190 | 300 | 400 | 500 | 600 | 800 | 1000 |
|---|---|---|---|---|---|---|---|---|---|
| Max. teplota | [°C] | 110 | |||||||
| Max. pracovní tlak | [bar] | 6,0 | |||||||
| Účinnost kotle při jmenovitém výkonu | [%] | 85 - 89 | |||||||
| Teplota spalin na výstupu z kotle | [°C] | 175 | |||||||
| Spotřeba paliva* | [kg.h-1] | 45 | 86 | 135 | 180 | 225 | 260 | 347 | 433 |
| Množství spalin* | [Nm3.h-1] | 234 | 445 | 702 | 936 | 1170 | 1404 | 1872 | 2340 |
| Délka kotle | [m] | 1,8 | 2,3 | 2,8 | 2,8 | 3,0 | 3,0 | 3,2 | 3,2 |
| Šířka kotle | [m] | 1,0 | 1,2 | 1,3 | 1,5 | 1,5 | 1,7 | 1,8 | 1,9 |
| Výška kotle | [m] | 2,7 | 3,0 | 3,2 | 3,4 | 3,4 | 3,6 | 3,7 | 3,6 |
| Hmotnost kotle | [kg] | 2090 | 2550 | 3020 | 3450 | 3980 | 4410 | 5090 | 5675 |
| Objem vody v kotli | [m3] | 0,89 | 1,25 | 1,62 | 2,00 | 2,43 | 2,91 | 3,28 | 3,55 |
*při jmenovitém výkonu a vlhkosti dřevní štěpky 40%
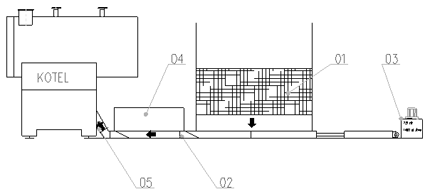
Výkres

Schéma: Doprava paliva

02 – Hydraulický podavač
03 – Hydraulický agregát
04 – Doplňovací meziprostor
05 – Dopravní potrubí do kotle