Akumulační nádoby s plovoucím boilerem (AN-B)
Akumulační nádoba s plovoucím boilerem se značí AN-B, je to válcová stojatá tlaková nádoba, která je vybavena ohřevem teplé užitkové vody. Konstrukční zpracování nádrže umožňuje také připojení elektroohřevu. Akumulační nádrže s plovoucím boilerem se mohou provozovat do max. provozního přetlaku 0,8MPa vnitřní nádrž a 0,6MPa vnější nádrž a max. pracovní teploty 100°C. Dle požadavku zákazníka je možno vyrobit i atypické akumulační nádoby. Nádoby jsou opatřeny základním ekologickým nátěrem, vnitřní nádoba je pozinkovaná.
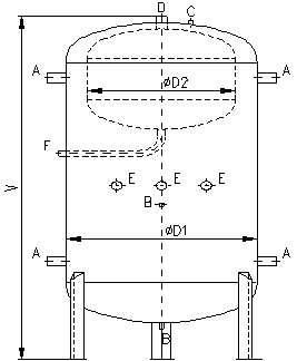
Technické parametry
| Typ | Vnější nádoba | Průměr | Vnitřní nádoba | Průměr | Výška | Připojovací místa | Hmotnost | |||||
|---|---|---|---|---|---|---|---|---|---|---|---|---|
| Katalogové číslo | [l] | [mm] | [mm] | [mm] | [mm] | A | B | C | D | E | F | [kg] |
| AN B300/150 | 300 | 650 | 150 | 550 | 1360 | G2" | G1/2" | G3/4" | G1" | M48x2 | 450 | 1270 |
| AN B400/200 | 400 | 650 | 200 | 550 | 1760 | G2" | G1/2" | G3/4" | G1" | M48x2 | 390 | 1400 |
| AN B500/250 | 500 | 650 | 250 | 550 | 1960 | G2" | G1/2" | G3/4" | G1" | M48x2 | 390 | 1400 |
| AN B600/300 | 600 | 650 | 300 | 550 | 2340 | G2" | G1/2" | G3/4" | G1" | M48x2 | 450 | 1270 |
| AN B800/400 | 800 | 800 | 400 | 700 | 2070 | G2" | G1/2" | G3/4" | G1" | M48x2 | 390 | 1400 |
| AN B1000/500 | 1000 | 800 | 500 | 700 | 2570 | G2" | G1/2" | G3/4" | G1" | M48x2 | 390 | 1400 |
POZOR: Není-li ve vnitřní nádobě přetlak alespoň 0,4MPa, nesmí být ve vnější nádobě přetlak vyšší než 0,4MPa
Výkres
